ADVANCED MICROCOMPUTER SYSTEMS, INC.

422/485PC-10/DB25

Card Type

Serial card

Chip Set

Unidentified

Maximum Onboard Memory

N/A

I/O Options

Serial port

Data Bus

16-bit ISA

Floppy drives supported

N/A

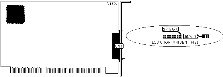
CONNECTIONS

Function

Label

25-pin serial port

CN1

SERIAL PORT ADDRESS CONFIGURATION

Setting

J5/A

J5/B

J5/C

J5/D

»

COM1 (3F8h)

Closed

Open

Open

Open

 

COM2 (2F8h)

Open

Closed

Open

Open

 

COM3 (3E8h)

Open

Open

Closed

Open

 

COM4 (2E8h)

Open

Open

Open

Closed

 

Disabled

Open

Open

Open

Open

SERIAL PORT 1 INTERRUPT SELECTION

IRQ

SP1/A

SP1/B

SP1/C

SP1/D

SP1/E

SP1/F

 

2/9

Closed

Open

Open

Open

Open

Open

 

3

Open

Closed

Open

Open

Open

Open

»

4

Open

Open

Closed

Open

Open

Open

 

5

Open

Open

Open

Closed

Open

Open

 

6

Open

Open

Open

Open

Closed

Open

 

7

Open

Open

Open

Open

Open

Closed

 

10

Open

Open

Open

Open

Open

Open

 

11

Open

Open

Open

Open

Open

Open

 

12

Open

Open

Open

Open

Open

Open

 

14

Open

Open

Open

Open

Open

Open

 

15

Open

Open

Open

Open

Open

Open

SERIAL PORT 1 INTERRUPT SELECTION (CON’T)

IRQ

SP1/G

SP1/H

SP1/I

SP1/J

SP1/K

 

2/9

Open

Open

Open

Open

Open

 

3

Open

Open

Open

Open

Open

»

4

Open

Open

Open

Open

Open

 

5

Open

Open

Open

Open

Open

 

6

Open

Open

Open

Open

Open

 

7

Open

Open

Open

Open

Open

 

10

Closed

Open

Open

Open

Open

 

11

Open

Closed

Open

Open

Open

 

12

Open

Open

Closed

Open

Open

 

14

Open

Open

Open

Closed

Open

 

15

Open

Open

Open

Open

Closed