TEXAS MICROSYSTEMS, INC.
P5000HX
|
Processor |
Pentium |
|
Processor Speed |
100/133/166/200MHz |
|
Chip Set |
Unidentified |
|
Video Chip Set |
None |
|
Maximum Onboard Memory |
256MB |
|
Maximum Video Memory |
None |
|
Cache |
256/512KB |
|
BIOS |
Unidentified |
|
Dimensions |
305mm x 244mm |
|
I/O Options (CPU) |
Floppy drive interface, EIDE interface, SCSI interface, parallel port, PS/2 mouse interface, serial ports (2), cache slot |
|
I/O Options (Backplane) |
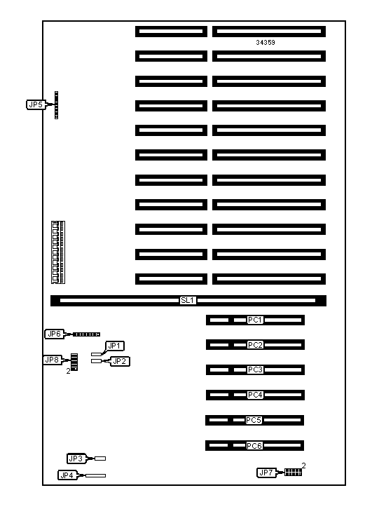
32-bit PCI slots (6), CPU slot |
|
NPU Options |
None |
|
CONNECTIONS | |||
|
Purpose |
Location |
Purpose |
Location |
|
SCSI interface |
CN1 |
Serial port 1 |
CN6 |
|
Hard drive LED |
CN2 |
Parallel port |
CN7 |
|
EIDE interface |
CN3 |
PS/2 mouse interface |
CN8 |
|
Floppy drive interface |
CN4 |
AT keyboard connector |
CN9 |
|
Serial port 2 |
CN5 |
Cache slot |
SL1 |
|
USER CONFIGURABLE SETTINGS | |||
|
Function |
Label |
Position | |
|
» |
Watchdog timer disabled |
JP4 |
Pins 2 & 3 closed |
|
Watchdog timer enabled |
JP4 |
Pins 1 & 2 closed | |
|
» |
PS/2 IRQ 12 enabled |
JP7 |
Pins 2 & 3 closed |
|
Next Step OS used |
JP7 |
Pins 1 & 2 closed | |
|
» |
Monitor type select color |
SW1/1 |
On |
|
Monitor type select monochrome |
SW1/1 |
Off | |
|
» |
Flash BIOS enabled |
SW1/2 |
Off |
|
Flash BIOS disabled |
SW1/2 |
On | |
|
» |
CMOS memory normal operation |
SW1/3 |
Off |
|
CMOS memory clear |
SW1/3 |
On | |
|
» |
I/O address select 270H |
SW1/4 |
Off |
|
I/O address select 370H |
SW1/4 |
On | |
|
DRAM CONFIGURATION | ||
|
Size |
Bank 0 |
Bank 1 |
|
8MB |
(2) 1M x 36 |
None |
|
16MB |
(2) 2M x 36 |
None |
|
16MB |
(2) 1M x 36 |
(2) 1M x 36 |
|
24MB |
(2) 2M x 36 |
(2) 1M x 36 |
|
32MB |
(2) 4M x 36 |
None |
|
32MB |
(2) 2M x 36 |
(2) 2M x 36 |
|
40MB |
(2) 4M x 36 |
(2) 1M x 36 |
|
48MB |
(2) 4M x 36 |
(2) 2M x 36 |
|
64MB |
(2) 8M x 36 |
None |
|
64MB |
(2) 4M x 36 |
(2) 4M x 36 |
|
72MB |
(2) 8M x 36 |
(2) 1M x 36 |
|
80MB |
(2) 8M x 36 |
(2) 2M x 36 |
|
96MB |
(2) 8M x 36 |
(2) 4M x 36 |
|
128MB |
(2) 8M x 36 |
(2) 8M x 36 |
|
128MB |
(2) 16M x 36 |
None |
|
136MB |
(2) 16M x 36 |
(2) 1M x 36 |
|
144MB |
(2) 16M x 36 |
(2) 2M x 36 |
|
160MB |
(2) 16M x 36 |
(2) 4M x 36 |
|
192MB |
(2) 16M x 36 |
(2) 8M x 36 |
|
256MB |
(2) 16M x 36 |
(2) 16M x 36 |
|
CACHE CONFIGURATION | |
|
Size |
SL1 |
|
256KB |
256KB module installed |
|
512KB |
512KB module installed |
|
CPU SPEED SELECTION | ||||
|
CPU speed |
Clock speed |
Multiplier |
JP6 |
JP8 |
|
100MHz |
66MHz |
1.5x |
Open |
Open |
|
133MHz |
66MHz |
2x |
Open |
Closed |
|
166MHz |
66MHz |
2.5x |
Closed |
Closed |
|
200MHz |
66MHz |
3x |
Closed |
Open |
|
SERIAL PORT 2 SELECTION | ||||
|
Setting |
JP2 |
JP3 |
JP5 | |
| » |
RS232 |
Pins 2 & 3 closed |
Pins 2 & 3 closed |
Pins 2 & 3 closed |
|
RS422 |
Pins 1 & 2 closed |
Pins 1 & 2 closed |
Pins 1 & 2 closed | |
|
RS485 |
Pins 1 & 2 closed |
Pins 1 & 2 closed |
Pins 1 & 2 closed | |
|
CONNECTIONS | |||
|
Purpose |
Location |
Purpose |
Location |
|
Front keyboard connector |
JP4 |
Front panel connector |
JP8 |
|
Rear keyboard connector |
JP5 |
CPU slot |
SL1 |
|
CPU interface |
JP6 | ||
|
USER CONFIGURABLE SETTINGS | |||
|
Function |
Label |
Position | |
|
» |
Factory configured - do not alter |
JP1 |
Unidentified |
|
» |
Factory configured - do not alter |
JP2 |
Unidentified |
|
» |
Factory configured - do not alter |
JP3 |
Unidentified |
|
» |
Factory configured - do not alter (PCI J tag) |
JP7 |
Unidentified |