MAXOPTIX CORPORATION

MAXDAT3 I, MAXDAT3 IS

Device Type

Internal Tape Drive

Interface

SCSI-2 Fast

Format

DAT, DDS, DDS-2, DDS-3

Sustained Transfer Rate

1.2 MBPS (native), 2.4 MBPS (compressed)

Size

3.5 in. full height

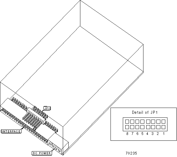
View

Top

USER CONFIGURABLE SETTINGS

Setting

Label

Position

»

Termination enabled

JP1/2

Closed

 

Termination disabled

JP1/2

Open

»

Parity check enabled

JP1/3

Closed

 

Parity check disabled

JP1/3

Open

»

Factory configured - do not alter

JP1/4

Open

»

Data compression enabled

JP1/5

Open

 

Data compression disabled

JP1/5

Closed

DRIVE SELECT ID

Drive ID

JP1/6

JP1/7

JP1/8

0

Open

Open

Open

1

Closed

Open

Open

2

Open

Closed

Open

3

Closed

Closed

Open

4

Open

Open

Closed

5

Closed

Open

Closed

6

Open

Closed

Closed

7

Closed

Closed

Closed

TERMINATION POWER SELECTION

Setting

JP1/1

» TERMPWR supplied by drive to SCSI interface

Closed

TERMPWR supplied by SCSI interface to drive

Open

MANUFACTURERS RECOMMENDED MEDIA

Tape

Capacity Without Compression

Capacity With Compression

60m DDS

1.3GB

2.6GB

90m DDS

2GB

4GB

120m DDS-2

4GB

8GB

125m DDS-3

12GB

24GB