TEAC CORPORATION

TAPE 1600

Device Type

Internal Tape Drive

Interface

Floppy

Format

TRAVAN TR-2

Sustained Transfer Rate

500KBPS, 1MBPS

Size

3.5 in. quarter height

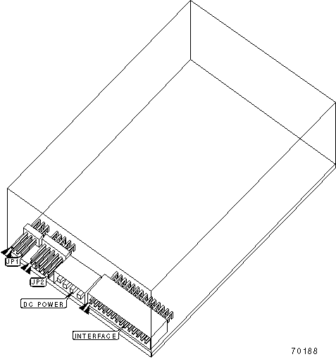
View

Top

USER CONFIGURABLE SETTINGS

Setting

Label

Position

»

Factory configured - do not alter

JP1

Unidentified

»

Factory configured - do not alter

JP2

Unidentified

MANUFACTURERS RECOMMENDED MEDIA

Tape

Capacity with Compression

TRAVAN TR-2

1.6GB

QW-3010 XLE

840MB

MC-3000 XL

680MB

TRAVAN TR-1 (read only)

800MB

DIAGNOSTIC LED(S)

LED

Color

Status

Condition

LED1

Unidentified

On

Tape is busy

LED1

Unidentified

Off

Tape is not in use