Digital equipment corperation

rrd43-aa/bb

Device Type

CD-ROM

Interface

SCSI

Spin Rate

2x

Formats Supported

CD-XA, CD-ROM (Mode 1 & Mode 2)

View

Top

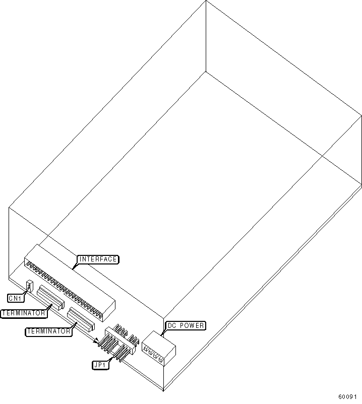
CONNECTIONS

Function

Label

Audio line out

CN1

USER CONFIGURABLE SETTINGS

Setting

Label

Position

»

DEC PC mode

JP1/4

Open

 

DEC Workstation mode

JP1/4

Closed

»

Allow insertion and removal of CD’s by command or eject button

JP1/5

Open

 

Prevent insertion and removal of CD’s

JP1/5

Closed

»

Normal operation mode

JP1/6

Open

 

Audio signal reproduction mode

JP1/6

Closed

»

Shared terminator power disabled

JP1/7

Open

 

Shared terminator power enabled

JP1/7

Closed

DRIVE SELECT ID

Drive ID

JP1/1

JP1/2

JP1/3

0

Open

Open

Open

1

Closed

Open

Open

2

Open

Closed

Open

3

Closed

Closed

Open

4

Open

Open

Closed

5

Closed

Open

Closed

6

Open

Closed

Closed

7

Closed

Closed

Closed