SMART AND FRIENDLY

CD RACER

Device Type

Internal CD-ROM

Interface

IDE(AT)

Spin Rate (Read/Write)

2x

Formats Supported Read

CD-XA, CD-DA, CD-I, CD-I Ready, CD Bridge, CD-ROM (Mode 1 & Mode 2), Video CD, CD Extra, CD-RW

Formats Supported Write

CD-ROM (Mode 1 & Mode 2), CD-DA, CD-XA, CD-I, CD-Bridge, Video CD, CD-Extra, CD-RW

View

Top

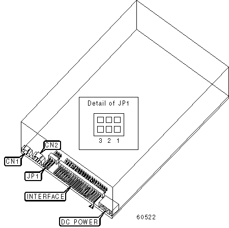
CONNECTIONS

Function

Label

Function

Label

Digital audio line out

CN1

Audio line out

CN2

MASTER/SLAVE SELECTION

Setting

JP1/1

JP1/2

JP1/3

»

Master in two drive system

Closed

Open

Open

 

Slave in two drive system

Open

Closed

Open

 

Master/slave determined by cable select

Open

Open

Closed